Корзина
0 товаров, 0.00руб.

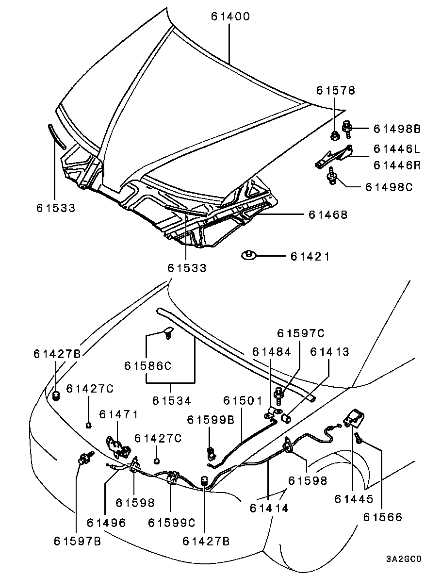
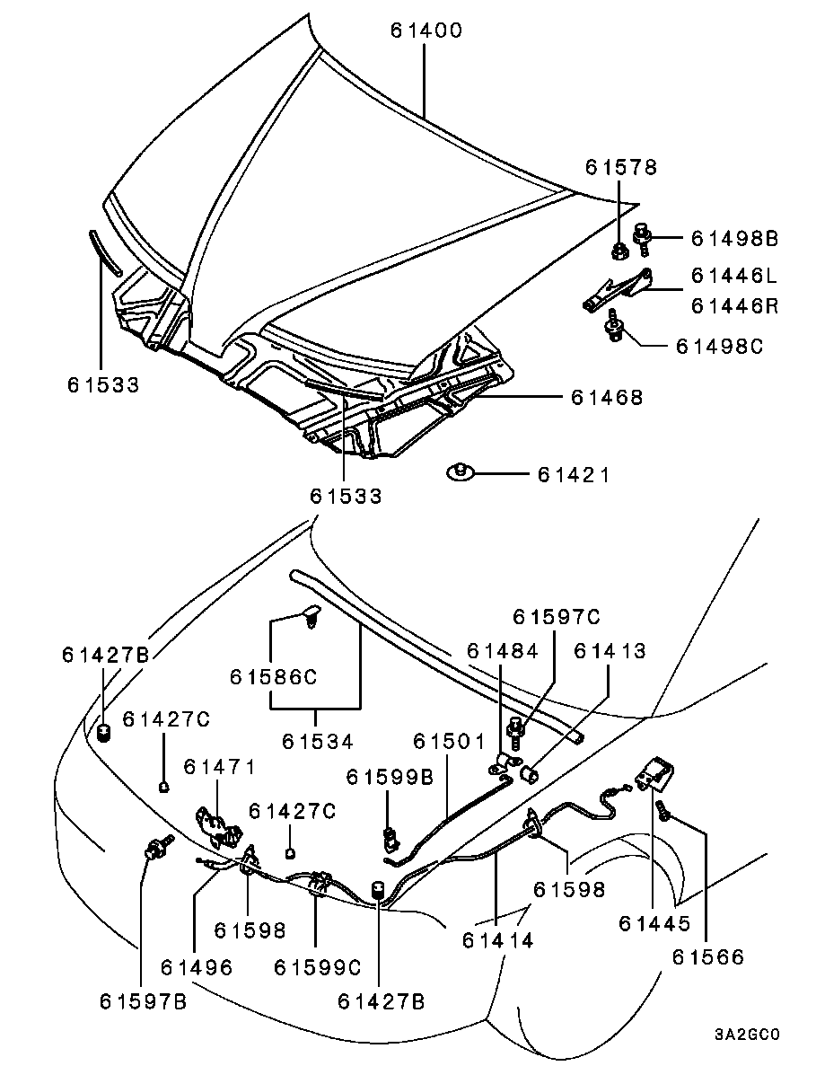
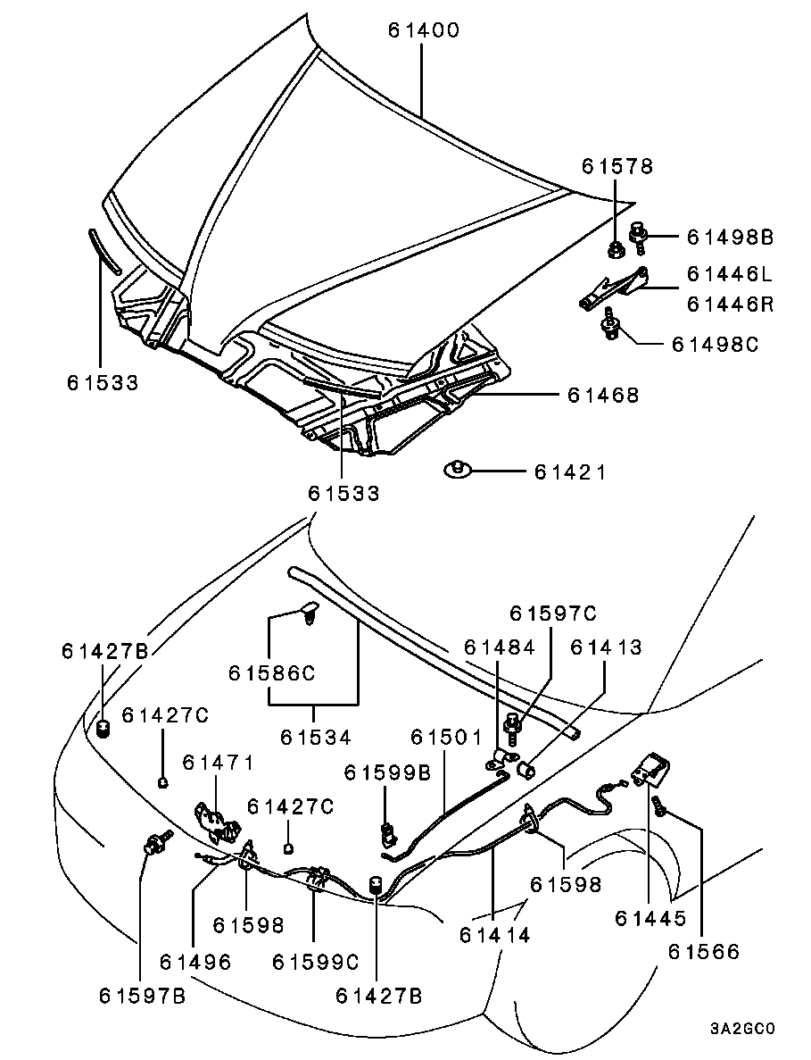
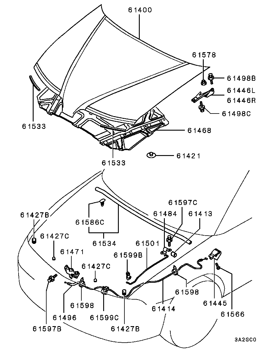
Mitsubishi Carisma 1999-2003

Запчасти для Mitsubishi Carisma 1999-2003

                                                                                           Запчасти для Mitsubishi Carisma 1999-2003

Запчасти на Каризма, не побеспокоят вас высокой стоимостью, и конечно частотой замены. Это же Мицубиси, узлы и агрегаты этой корпорации надёжны до неприличия. Эта модель уже не выпускается несколько лет, но в своё время, у неё бык крепкий фан клуб поклонников по всему миру. Машина многим полюбилась за универсальность, разумный комфорт, экономичность и надёжность. И наш сайт «Реаниматор», предлагает любые детали для вашего автомобиля, как оригинальные и не оригинальные, но отличного качества.



Продолжить покупки Оформить заказ

×

×