Mitsubishi Outlander 2012-2015

Запчасти для Mitsubishi Outlander 2012-2015
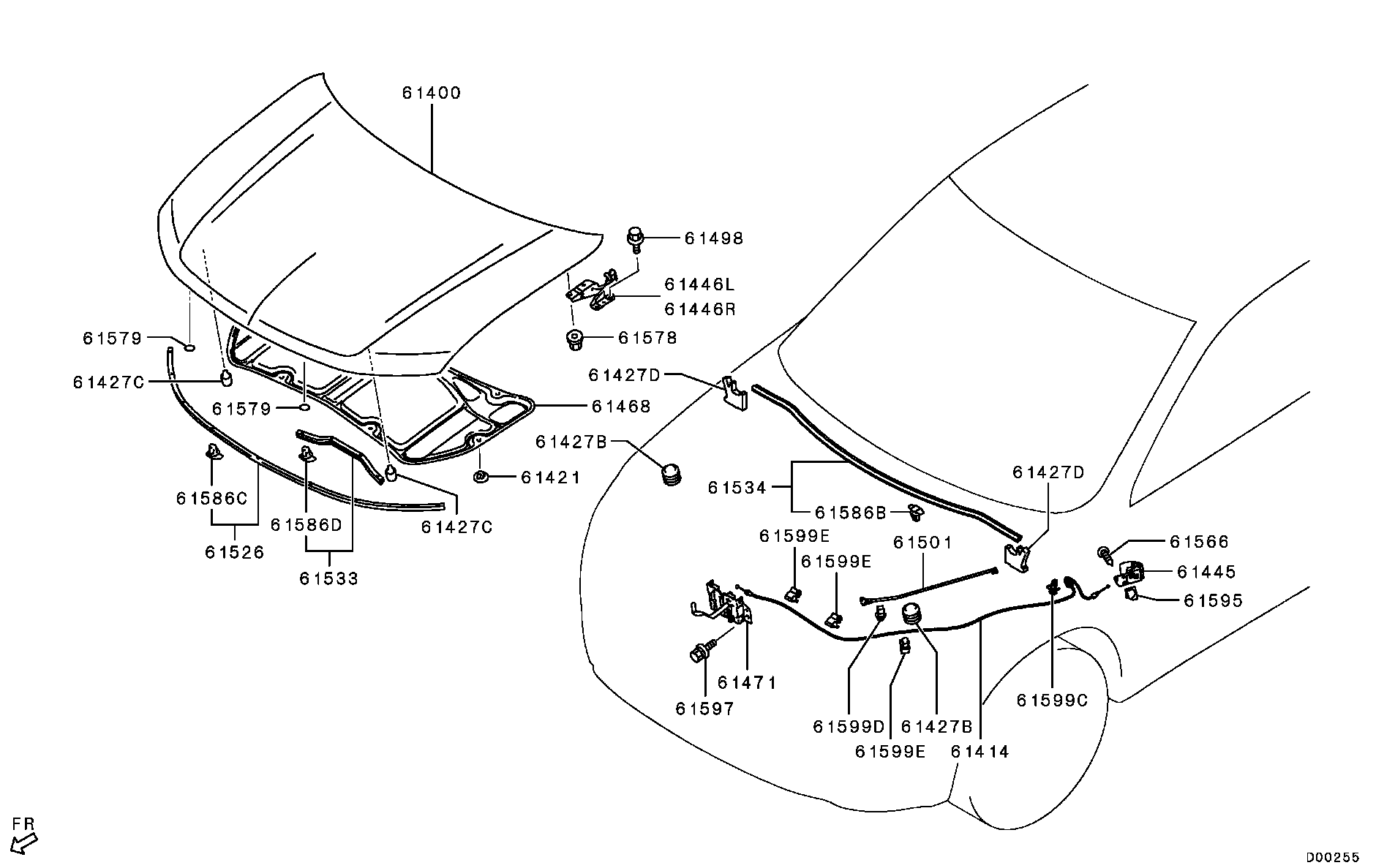
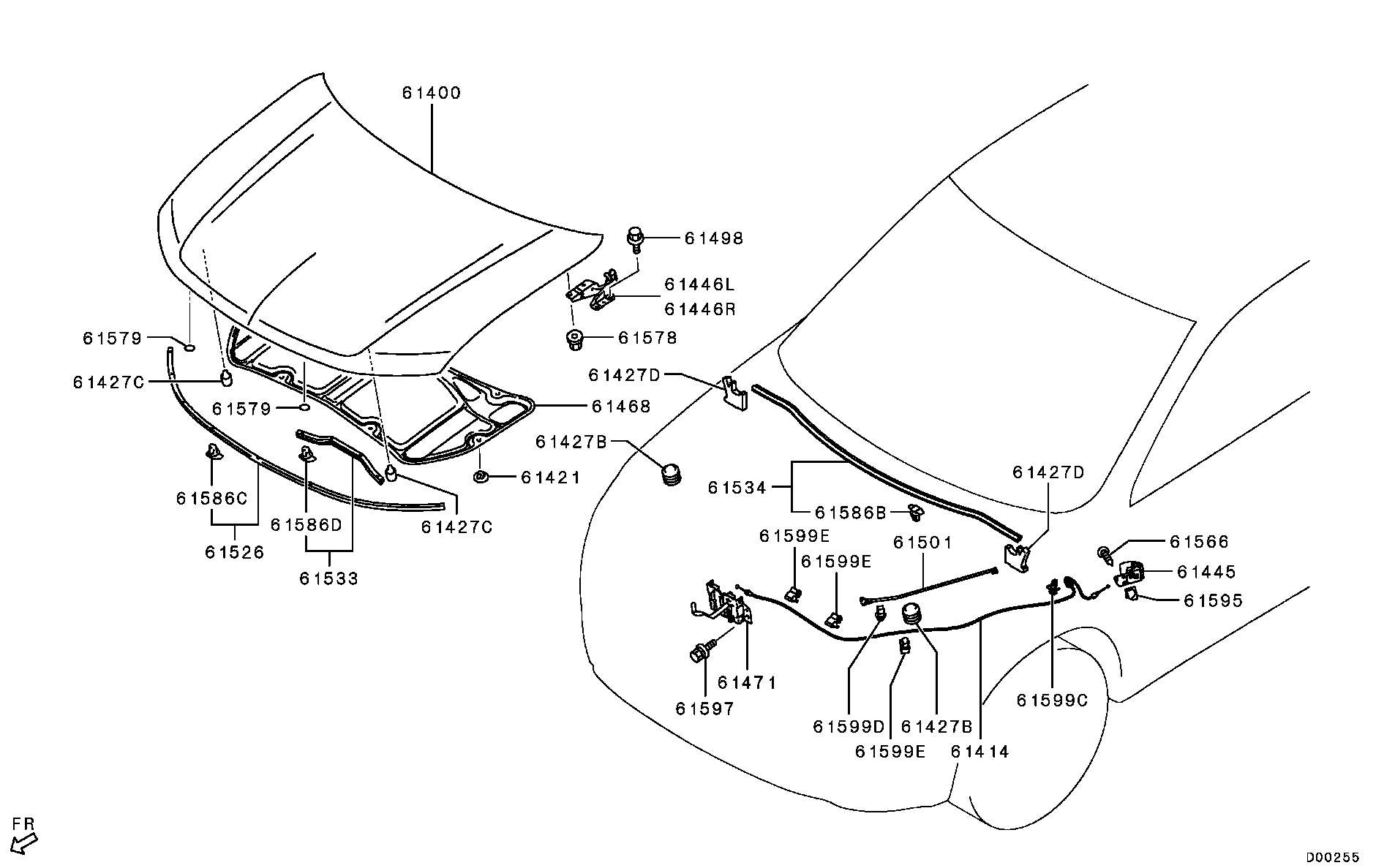
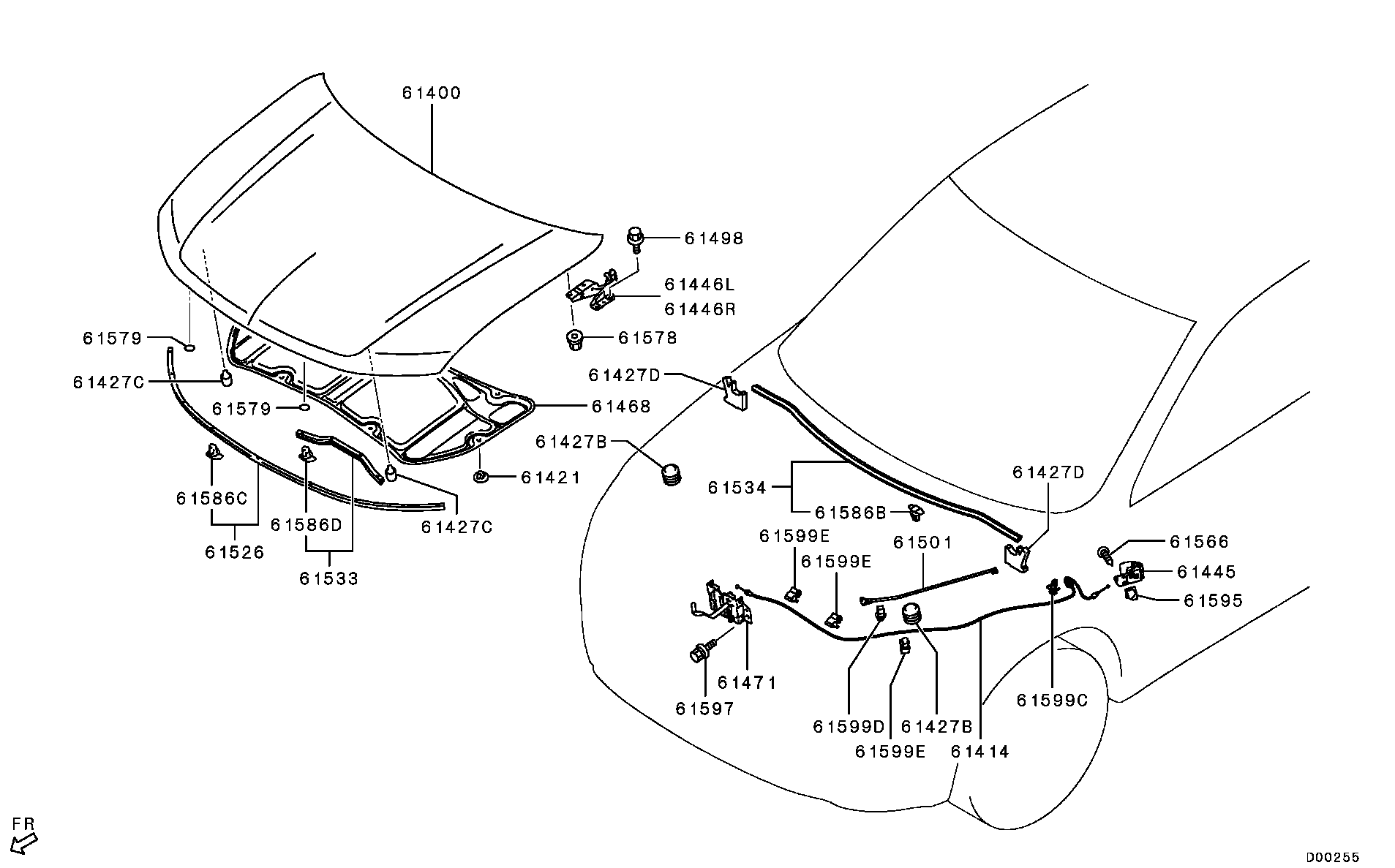
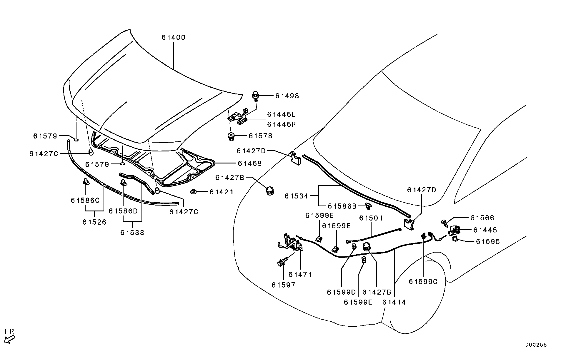
Если у вас возникла необходимость купить запчасти на Аутлендер, то вы по адресу. У нас есть любые узлы и агрегаты для вашего авто. Комплектация последних модификаций очень неплохая. Руль оснащен гидроусилителем, а новые версии получили электрический усилитель, что делает управление машиной намного комфортнее. Колонку можно регулировать и по вылету, и по наклону, кресла с хорошей поддержкой также регулируются и гарантируют удобное расположение человека любой комплекции. Из необходимых помощников, облегчающих поездку как водителю, так и пассажирам, изначально доступны такие, как контроль климата на две зоны, ксеноновые фары, система, контролирующая полосы движения, подогрев (зеркала, руль, кресла), система кнопочного запуска двигателя.




Корзина








